Portata bassa/azzerata se apro due rubinetti

Se avete un problema di idraulica questo è il posto giusto per cercare una soluzione

Moderatore: dalmos

Rispondi
Kintaro
Messaggi: 11
Iscritto il: dom 05 feb 2023 7:55 am

Portata bassa/azzerata se apro due rubinetti

Messaggio da Kintaro »

Salve

abito in un piccolo condominio con 9 appartamenti. Ognuno ha il suo contatore dell’acqua e qualcuno compreso me ha anche un riduttore di pressione (attualmente il mio segna poco meno di 4 bar).

Il mio appartamento è al primo e secondo piano.
Ho sempre avuto problemi di portata ma non come da 20gg a questa parte.
Se apro un rubinetto e poi tiro l’acqua del water oppure apro un altro rubinetto la portata quasi si azzera. Quando chiudo uno dei due piano piano la portata riprende.

Questo mi sta dando problemi anche con la lavatrice che ci mette tantissimo a caricare e va in blocco. Senza contare se si sta facendo la doccia qualcuno e qualcun altro tira l’acqua del WC!

Cosa potrebbe essere?
C’entra qualcosa la pressione?

Anche altri condomini si sono accorti di un calo della portata ma non quanto il mio appartamento.
Avatar utente
ENRICO51
Messaggi: 2262
Iscritto il: sab 16 apr 2022 9:44 am
Località: APRILIA LT

Re: Portata bassa/azzerata se apro due rubinetti

Messaggio da ENRICO51 »

Poco meno di 4 bar, la pressione è buona. Se il manometro è installato dopo il regolatore di pressione, anche questo è ok e il problema è a valle. Se dopo il manometro c'è una chiave di arresto controlla che questa sia completamente aperta, se ci sono filtri o altro. Una foto della zona contatore sarebbe utile. Puoi dirci che tubi ci sono nell'impianto e approssimativamente quanti anni ha? Sarebbe utile anche uno schemino dell'impianto del tuo appartamento per fare una ricerca sistematica misurando la pressione su vari punti, dal rubinetto più vicino al contatore, allontanandosi di volta in volta.
av250866
Messaggi: 59
Iscritto il: lun 19 gen 2026 8:33 am

Re: Portata bassa/azzerata se apro due rubinetti

Messaggio da av250866 »

ENRICO51 ha scritto: mer 11 mar 2026 9:17 am Poco meno di 4 bar, la pressione è buona. Se il manometro è installato dopo il regolatore di pressione, anche questo è ok e il problema è a valle...
E' possibile, ma non è detto che il problema sia a valle.
Se per qualche motivo la condotta a monte ha poca portata (si è otturata o riceve meno acqua per qualche ragione), fino a che il tuo circuito non consuma, la pressione è OK, ma quando comincia a consumare non viene alimentato abbastanza velocemente dalla condotta a monte e la pressione cala.

Se hai verificato i 4 bar mentre hai due o più rubinetti aperti, allora il problema è quasi sicuramente a valle, se invece, mentre consumi parecchio, la pressione al manometro si abbassa, allora il problema è probabilmente a monte.

Se hai più problemi degli altri inquilini potrebbe essere perché sei al piano più alto o nel punto più lontano dall'alimentazione principale...
In ogni caso se prima l'impianto funzionava bene e adesso hai problemi all'aumentare della portata è quasi sicuramente un discorso di perdite di carico anomale... e se ti succede con qualsiasi utenza della casa (rubinetti, WC, ecc.) il problema è (se non a monte) nella parte iniziale dell'impianto, magari il regolatore stesso o qualche filtro sporco.
Kintaro
Messaggi: 11
Iscritto il: dom 05 feb 2023 7:55 am

Re: Portata bassa/azzerata se apro due rubinetti

Messaggio da Kintaro »

Oggi provo a verificare se il manometro del riduttore, che è installato dopo il contatore, cala mentre sono aperti i rubinetti.
non ho schemi dell'impianto

verifico anche se ci sono chiavi di arresto

faccio queste prove e vi aggiorno

intanto grazie
Kintaro
Messaggi: 11
Iscritto il: dom 05 feb 2023 7:55 am

Re: Portata bassa/azzerata se apro due rubinetti

Messaggio da Kintaro »

Ho fatto una prova

Il manometro del riduttore appena apro un rubinetto va a 1,5bar scarsi
Se apro un secondo rubinetto va sotto 0,5bar.

Ho notato che non tutti gli appartamenti hanno il riduttore ma da quel che ho capito un condomino che si lamenta come me (un po’ meno) è senza riduttore.

Questa la foto del contatore (con bar vicino al 2 perché stava scendendo causa rubinetto aperto)
IMG_9207 - dimensioni grandi 2.jpeg
IMG_9207 - dimensioni grandi 2.jpeg (333.82 KiB) Visto 81 volte
Avatar utente
Capitan Farloc
Site Admin
Messaggi: 9813
Iscritto il: gio 29 dic 2005 10:58 pm
Località: Roma

Re: Portata bassa/azzerata se apro due rubinetti

Messaggio da Capitan Farloc »

Se il manometro che è sul riduttore di pressione quando apri i rubinetti rileva una pressione notevolmente più bassa, secondo me sta ad indicare che c'è una riduzione della portata del flusso di acqua prima del riduttore stesso.
Io proverei a sostituire la valvola di ritegno che è montata subito prima del riduttore di pressione, e a controllare, una volta smontato la vecchia valvola, che aprendo il rubinetto (con un secchio sotto) il getto di acqua che esce dal rubinetto sia molto forte.
Luciano
Avatar utente
mariobrossh
Moderator Maximo
Messaggi: 17461
Iscritto il: lun 17 ago 2009 9:11 am
Località: Cosenza

Re: Portata bassa/azzerata se apro due rubinetti

Messaggio da mariobrossh »

spesso sono i riduttori di pressione che si intasano e a volte si bloccano proprio
Condividere un'idea è sempre una buona idea :)
Kintaro
Messaggi: 11
Iscritto il: dom 05 feb 2023 7:55 am

Re: Portata bassa/azzerata se apro due rubinetti

Messaggio da Kintaro »

Capitan Farloc ha scritto: mer 11 mar 2026 8:08 pm Se il manometro che è sul riduttore di pressione quando apri i rubinetti rileva una pressione notevolmente più bassa, secondo me sta ad indicare che c'è una riduzione della portata del flusso di acqua prima del riduttore stesso.
Io proverei a sostituire la valvola di ritegno che è montata subito prima del riduttore di pressione, e a controllare, una volta smontato la vecchia valvola, che aprendo il rubinetto (con un secchio sotto) il getto di acqua che esce dal rubinetto sia molto forte.
la valvola di ritegno è questa, giusto?
Senza nome.jpg
Senza nome.jpg (50.88 KiB) Visto 65 volte
quindi chiudo il rubinetto tra il contatore e la valvola di ritegno e a quel punto sostituisco la valvola.
prima di sostituirla non c'è modo di vedere se è effettivamente lei? vedo che da sopra sembra potersi aprire

scusate queste domande banali ma sono un neofita... forse visto che si è capito che il problema è il riduttore o la valvola è meglio che chiami un idraulico, non vorrei creare danni... o alla fin fine una volta sostituita basta avvitarla bene? :confused2:
mariobrossh ha scritto: mer 11 mar 2026 8:11 pm spesso sono i riduttori di pressione che si intasano e a volte si bloccano proprio
questo però non spiegherebbe il problema all'altro condomino che è senza riduttore (dice che il suo contatore è quello sopra il mio) anche se lui avverte meno la riduzione di portata di me che invece si azzera quasi del tutto. in ogni caso il problema dell'altro condomino non è detto che sia pari e uguale al mio.
av250866
Messaggi: 59
Iscritto il: lun 19 gen 2026 8:33 am

Re: Portata bassa/azzerata se apro due rubinetti

Messaggio da av250866 »

Kintaro ha scritto: mer 11 mar 2026 10:17 pm
...
questo però non spiegherebbe il problema all'altro condomino che è senza riduttore (dice che il suo contatore è quello sopra il mio) anche se lui avverte meno la riduzione di portata di me che invece si azzera quasi del tutto. in ogni caso il problema dell'altro condomino non è detto che sia pari e uguale al mio.
Infatti.
E' possibile che il problema sia legato alla valvola di non ritorno; dalla foto la tua valvola dovrebbe essere fatta più o meno così (vedi sotto). E' difficile che sia intasata, ma magari il calcare ha bloccato la paletta.
Oppure potrebbe essere il riduttore stesso (vedi foto sotto).
La valvola a clapet è facile da smontare, il riduttore è un po' più complicato quando lo rimonti perché devi fare attenzione alla molla ed alle guarnizioni; inoltre spesso i filetti sono bloccati con la Loctite.

Però è anche vero che se più o meno tutti gli inquilini lamentano un calo di pressione è possibile che il problema sia a monte. Se non trovi nulla di strano sulla valvola e/o sul riduttore contatta l'amministratore e fate una segnalazione alla società dell'acqua.

Immagine
Immagine
Kintaro
Messaggi: 11
Iscritto il: dom 05 feb 2023 7:55 am

Re: Portata bassa/azzerata se apro due rubinetti

Messaggio da Kintaro »

av250866 ha scritto: gio 12 mar 2026 11:00 am
Infatti.
E' possibile che il problema sia legato alla valvola di non ritorno; dalla foto la tua valvola dovrebbe essere fatta più o meno così (vedi sotto). E' difficile che sia intasata, ma magari il calcare ha bloccato la paletta.
Oppure potrebbe essere il riduttore stesso (vedi foto sotto).
La valvola a clapet è facile da smontare, il riduttore è un po' più complicato quando lo rimonti perché devi fare attenzione alla molla ed alle guarnizioni; inoltre spesso i filetti sono bloccati con la Loctite.

Però è anche vero che se più o meno tutti gli inquilini lamentano un calo di pressione è possibile che il problema sia a monte. Se non trovi nulla di strano sulla valvola e/o sul riduttore contatta l'amministratore e fate una segnalazione alla società dell'acqua.
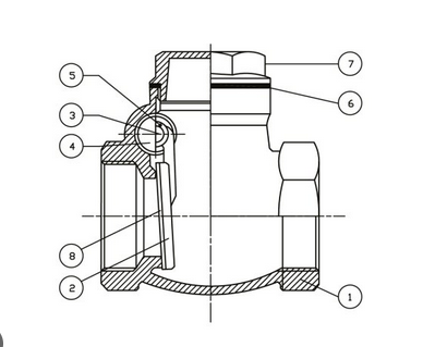
Per la valvola di non ritorno posso provare a a svitare il 7? (vedi immagine) e dare un'occhiata dentro?
ovviamente prima chiudo il rubinetto a monte :lol:

Intanto ho raccolto altre informazioni, altri condomini mi hanno confermato che in passato hanno tolto il riduttore... però la mia paura è di avere poi troppa pressione in casa visto che il riduttore segna di base quasi 4bar (sempre se la calcola bene).
Avatar utente
Capitan Farloc
Site Admin
Messaggi: 9813
Iscritto il: gio 29 dic 2005 10:58 pm
Località: Roma

Re: Portata bassa/azzerata se apro due rubinetti

Messaggio da Capitan Farloc »

Potrebbe essere naturalmente anche il regolatore di pressione, quello è sicuramente il successivo a poter essere incriminato, però personalmente sono abituato ad andare per gradi, e calcolando che la valvola di ritegno è qualcosa che costa generalmente sotto i 10 euro la cambierei come prima cosa e, una volta che è smontata, aprendo i rubinetti verificherei anche che l'acqua esca con un getto molto forte proprio per esclurede anche qualche eventuale intasamento di questi.
Poi se così non si risolve... resta il regolatore di pressione ;-)

P.S.
Puoi certamente aprire il vitone sopra la valvola di ritegno, ma non so se da lì è possibile ispezionare o pulire la valvola dalla sporcizia o dalle incrostazioni... se la apri, facci sapere.
Luciano
Avatar utente
giovanni
Messaggi: 9779
Iscritto il: gio 30 ott 2008 12:03 am
Località: siena

Re: Portata bassa/azzerata se apro due rubinetti

Messaggio da giovanni »

Da quello che ho letto sarei per dire che c'è una saracinesca a monte (vedi acquedotto) parzializzata.
Difatti se il problema è emerso da soli 20 gg e il problema è per tutti, l'ipotesi mi pare plausibile.
Poi non credo che c'entrino qualcosa le valvole di non ritorno... perché magari non chiudono bene il ritorno, ma che non facciano passare l'acqua ion ingresso mi pare poco probabile.
Escluderei anche il riduttore, visto che il problema ce l'ha anche chi quello non ce l'ha.
Comunque per escludere il riduttore al 100% basta metterlo al massimo stringendo la parte superiore. In quella condizione il riduttore viene bypassato e, quindi, si vede subito se dopo è cambiato qualcosa sulla portata. ;-)
Nessuna buona azione resta impunita
Clare Boothe Luce
Avatar utente
mariobrossh
Moderator Maximo
Messaggi: 17461
Iscritto il: lun 17 ago 2009 9:11 am
Località: Cosenza

Re: Portata bassa/azzerata se apro due rubinetti

Messaggio da mariobrossh »

a me è successo che il riduttore di pressione si era completamente intasato,
mentre la valvola di ritegno mi è rimasta aperta e quando non c'era abbastanza
pressione dall'acquedotto l'acqua dell'autoclave andava in rete facendo girare
il contatore al contrario :-?
Condividere un'idea è sempre una buona idea :)
Rispondi